
科技圈传来重磅消息,苹果公司最新获批一项特殊专利,一款内置专用天线的可拆卸手机壳,可实现iPhone、iPad直连卫星群,彻底突破当前苹果设备卫星通信的物理限制。这项2024年提交、2026年公示的专利,有望解决无地面基站场景下的通信痛点,引发全球果粉与科技界的高度关注。

当前苹果设备的卫星通信功能仍有明显短板,存在诸多使用局限。自2022年iPhone 14推出卫星紧急求救功能以来,虽已挽救多条生命,但低轨卫星仅7分钟左右的过境窗口、设备内部天线功率有限,导致用户需精准对准卫星才能通信,且易受遮挡、连接极不稳定,仅能发送少量应急文本。
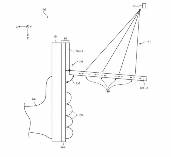
核心创新:相控阵天线+自动追踪,破解通信痛点。这款苹果专利手机壳的核心亮点的是内置相控阵天线,展开后可将天线阵列精准指向天空,配合波束成形电路增强信号,彻底解决手部遮挡信号的问题。与传统单一天线不同,其多组收发单元可同时连接卫星群,卫星移动时自动无缝切换,大幅提升连接稳定性。

灵活适配+功能升级,覆盖全场景需求。该手机壳适配性极强,可通过无线射频连接器或NFC与iPhone传输数据,还能借助智能连接器与iPad直连,实现供电与数据交互双重功能。更关键的是,它打破了应急通信局限,未来可提升数据传输量,让用户在无网区域不仅能求救,还能浏览网页、传输大数据。
专利背后,是苹果卫星战略的持续推进。这款手机壳专利并非孤立创新,而是苹果十年卫星布局的重要补充,无需对iPhone、iPad机身硬件改造,就能低成本升级卫星通信能力,规避与运营商的利益冲突,同时为后续5G NTN技术落地铺垫,进一步巩固苹果在消费电子领域的差异化优势。

需要注意的是,专利获批仅代表苹果完成技术储备,并非即刻量产上市,但这一创新已彰显其在卫星通信领域的野心。它不仅能改写移动设备无网通信的现状,还将推动消费级卫星服务加速普及。关注我,解锁更多苹果专利最新动态
迎尚网提示:文章来自网络,不代表本站观点。